
FU型链式输送机(简称“链运机”)是我公司引进日本大同及椿本株式会社的先进技术,结合国内同类产品的优点,总结一般输送设备在实际应用中存在的问题,综合开发出目前国内较为完善的新一代输送设备。其原理先进,结构新颖合理,高效节能。是替代螺旋输送机的一种理想产品。已广泛应用于建材、化工、火电、粮食加工、矿山、机械、冶炼、交通、港口、输送等行业。
已广泛应用于建材、化工、火电、粮食加工、矿山、机械、冶炼、交通、港口、输送等行业。
FU型链式输送机可输送粉状、粒状、小块状物料一千余种,典型的有:
水泥成品、水泥生料、黄砂、石灰石粉、煤粉、焦炭粉、粉煤灰、木屑、碎冰、石粉、尿素、合成肥料、肥皂粉、苏打粉、纯碱、石墨、塑料颗粒、聚乙烯、树脂、硫酸钾、硫化铵、粘土粉、石英砂、铁矿粉、碎炉渣、食盐、淀粉、小麦、棉籽、碎饲料、麦牙糖、稻谷、玉米、大豆等。
Fu型链式输送机产品特点:
1、输送能力大。输送机允许在小容量空间内输送大量物料,输送能力达6m3/h~600m3/h。
2、输送能耗低,借助物料的内摩擦力,变推却物料拉动,使其与螺旋输送机相比节电40%~60%。
3、密封和安全,全密封的机壳使粉尘无缝可钻,操作安全,运行可靠。
4、使用寿命长,合金钢材经先进的热处理手段加工而成的输送链,其正常寿命>5年,链上的滚子寿命(根据不同物料)≥2~3年。
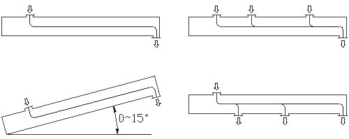
5、工艺布置灵活,可高架、地面或地坑布置,可水平或爬坡(≤150)安装,也可水平加爬坡安装,可多点进出料。
6、使用费用低,节电且耐用,维修少,能确保主机的正常运转。
7、系列齐全,Fu系列有Fu150、Fu200、Fu270、Fu350、Fu410、Fu500、Fu600和Fu700等各种型号,并均可提供单向输送和双向输送。

8、输送颗粒状物料不易破碎。
Fu型链式输送机主要部件结构特点
1、头节:采用端面螺栓联接,便于装拆。
2、中间节:机壳折边,且采用螺栓组装,外形美观、便于组装,中间导轨采用耐磨方钢,延长使用寿命。
3、尾节:采用螺杆张紧装置。
4、头尾轮:采用ZG340-640,正火及齿面淬火HRC40~45
5、输送链:链板采用45# HRC36~40
销轴采用40cr HRC38~42
滚子采用40cr HRC46~50
套筒采用20#(渗碳) HRC48~52

结构图表
FU型链式输送机外形和基础安装图:


FU型链式输送机外形及基础尺寸表:



FU型链式输送机基础载荷和地脚螺栓配备表:

注:1、驱动装置的基础载荷根据所选驱动装置的型号来定
2、若采用预埋件作基础联接,则不选用地脚螺栓
FU型链式输送机驱动装置基础尺寸表:

说明:Z1=S2+B2-30
选用ZQ850-ZQ100减速器、ZSY系列减速器、摆线针轮减速器时,请与本公司技术部联系。
表1:FU型链式输送机的机型种类及技术参数:

基本输送量是以水泥等为物料制定的,实际输送量可掌握在此表中推荐值小0~20%范围内。当用于其他行业输送磨西德福滤芯琢性小,且温度<60℃的物料时,链速还可加快(最快链速可达40m/min,参见表2)。具体可与公司技术部联系。
表2:输送不同磨琢性物料时所推荐的链速

表3:输送水泥生熟原料和成品粉料的最适链速注:

表4:倾斜输送时的折扣系数η值

注:当FU链式输送机倾斜放置时,输送量将减少,这时,实际输送能力为表1的数值乘以折扣系数η值。
- 上一篇:HB型链板、链斗式输送机
- 下一篇:SCG型长距离振动输送机振动输送机




