
NE型板链式斗式提升机为板链式、重力诱导卸料的提升设备。适用于垂直输送粉状、颗粒状、块状、磨琢性或无磨琢性物料,如生料、水泥、煤、石灰石、干粘土、熟料等。
NE型板链斗式提升机是引进国外先进技术研制的新型提升产品,应用于各工业国家,由于节能高效,NE型板链斗式提升机正在逐步替代HL型等环链式提升机。NE型板链斗式提升机为流入式喂料,物料流入料斗内靠板链提升到顶端,在物料重力作用下自行卸料。主要技术参数符合机械部标准(JB3926-85)。链条是优质合金钢高强度板式链条,耐磨而可靠。驱动部分采用硬齿面减速器。该提升机适用于中、大块和有磨琢性的物料(如石灰石、水泥熟料、石膏、块煤)的垂直输送,物料温度控制在250℃以下。

NE系列板链式斗式提升机系流入式喂料,物料流入料斗内靠板链提升到顶端,在物料重力作用下自行卸料。本系列提升机规格多(NE15~NE800共11种),提升量广;且产能高,能耗较低,可逐步代替其他类型提升机,其主要参数见下表。该机采用全封闭式机壳,链速低,几乎无回料现象,因此无功功率损耗少,噪声低,寿命长。
NE系列板链斗式提升机主要结构:
NE系列板链斗式提升机由运行部件、驱动装置、上部装置、中部机壳、下部装置组成。
运行部件---由料斗和专用板式链条组成,NE30及以下采用单排链,NE50--NE800采用双排链。
驱动装置---采用多种驱动组合驱动,(依用户实际需要而定).驱动平台上装有检修架和栏杆。驱动制装置分左装和右装两种。
上部装置---安装有轨道(双排链)、逆止器、卸料口装有防回料橡胶板。
中间节---部分中间节装有轨道(双链),以防止链条工作中摆动。
下部装置---安装有自动张紧装置。
NE型板链式提升机适用于垂直输送粉状、粒状和块状物料,也可提升磨琢性大的物料,物料温度一般不超过200℃,提升高度最高40m。其共有11种型号:NE15、NE30、NE50、NE100、NE150、NE200、NE300、NE400、NE500、NE600、NE800。
1、提升范围广:NE型板链斗式提升机对物料的种类、特性及块度的要求少。不仅可提升粉状、粒状和块状物料,而且可提升磨琢性大的物料和温度 £} 250℃的物料 。
2、输送能力大:该系列斗式提升机具有NE15~NE800多种规格。提升量范围为15~800 m3/ h。
3、使用寿命长:喂料采取流入式,运动部件与物料之间很少发生挤压和碰撞现象,本机的设计保证物料在喂料、提升和卸料中不会撒落,这就防止了物料对机体的磨损,输送链采用板链式高强度耐磨链条,延长了链条和链斗的使用寿命。根据国外同类产品在生产中长期的实践表明,输送链使用寿命超过5年。
4、驱动功率小:重力诱导式卸料,且采用密集型布置的大容量料斗输送,链速低,且提升量大。物料提升时,几采无回料和挖料现象,因此无效功率少,理论计算轴功率是环链提升机的45%左右 。
5、提升高度高:链速低,运行平稳,且采用板链式高强度耐磨链条,因此可达较高的提升高度(高达40m)。
6、密封性好,环境污染少。
7、运行可靠性好:先进的设计原理,保证了整机运行的可靠性。无故障时间超过3万小时。
8、操作、维修方便,易损件少。
9、整机刚性好、精度高:机壳经折边、中间压筋,再经焊接,机壳刚性好,外型美观。
10、使用成本低:由于节能和维修少,使用成本较低。
NE型板链斗式提升机技术性能表:

NE型板链斗式提升机输送物料粒度范围:

NE型板链斗式提升机的规格参数:

斗式提升机种类分类:
斗式提升机作为一种常用的提升设备,在得到广泛应用的同时,根据不同行业的要求也有着非常清楚的分类,按照传动结构可以分为:
(1).TD系列斗式提升机
TD系列斗式提升机是一种国家标准的斗式提升机,该系列斗式提升机和D系列斗式提升机都是采用胶带传动来提升物料,两者没有本质的区别,D系列斗式提升机产品型号较老且型号规格少。TD系列斗式提升机是在D系列斗式提升机的基础上经过产品改良而来,其规格有TD100(不常用)、TD160、TD250、TD315、TD400、TD500、TD630、TD800、TD1000等型号,其中TD160、TD250、TD315等型号为普遍采用型号.
(2).TH系列斗式提升机
TH系列斗式提升机是一种常用的提升设备,该系列斗式提升机采用锻造环链作为传动部分,具有很强的机械强度,主要用于提升粉体和小颗粒及小块状物料,区别于TD系列斗式提升机,其提升量更大、运转效率更高。其常用于较大比重的物料的提升。
(3).NE系列斗式提升机
NE系列斗式提升机是一种新型的斗式提升机,其采用板链传动,区别于老型号TB系列板链斗式提升机,其命名方式采用提升量命名而非斗宽。如NE150指的是提升量为150吨一小时而不是斗宽150。NE系列斗式提升机有着很高的提升机效率,根据提升速度不同还分有NSE型号及高速板链斗式提升机。
(4).TB系列斗式提升机
TB系列斗式提升机是一种较老型号的斗式提升机,其传动部分采用板链传动,现已经被NE系列斗式提升机产品替代。
(5).TG系列斗式提升机
TG系列斗式提升机是一种加强型胶带斗式提升机,其区别于TD系列斗式提升机,TG系列斗式提升机采用钢丝胶带作为传动带,其具有更强的传动能力。该系列斗式提升机多被应用于粮食输送上,又被称呼为粮食专用斗式提升机。
(6).其它型号斗式提升机
常见的斗式提升机型号还有HL系列斗式提升机、GTD系列斗式提升机、GTH系列斗式提升机等,其均为以上型号的不同叫法和演变形式。
安装调整
NE型板链式提升机为垂直式,其基础承受着提升机的全部重量,故安装前必须对基础进行检查。安装的基础要求如下:
本机的基础必须坚固,各相对位置应正确,下部装置支承面应处
于水平位置。联接各机壳的法兰必须齐整,不得有明显的错位,本机的中心线应力求在同一铅垂线上,其垂直偏差1/1000,总高的累积偏差不超过下表的规定(如图)。

NE型板链斗式提升机的主轴和尾轴应相互平行,头轴对水平面的平行度为0.3/1000。上下链轮的相对位置应对准。牵引链上下链轮的错位值不超过表3的规定(如图2所示),否则应沿轴向移动或尾轴给予消除。

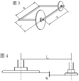
驱动装置的链传动调整完毕后,驱动装置低速轴和提升机主轴的平行度为1/300[(A-B)/L]mm(如图3所示)。
大小链轮的错位应符合下表的规定。

为了使用NE型板链斗式提升机在使用过程中拉紧装置具有足够的调整行程,在将牵引链条拉紧至适当程度后,拉紧装置向下尚未利用的行程应不少于整个个行程的50%。连接后的两根链条长度误差应尽可能的小,链条不应过份拉紧紧,以用人力转动链轮是否轻松圆滑,无其它显著的阻力增加为限。同时两根链条的拉紧程度力求一致,避免料斗歪斜。
若上述要求已经达到,则将所有栓螺重新拧紧,并清除提升机内部的所有零碎材料,以及向各润滑系统加注必要的润滑油,即可进行无负荷试车二小时。
维护保养
(一)、基本事项
我公司生产的NE型板链斗式提升机尾轴调整孔只开了有限长度,供一定的调整使用,设备运行一段时间后链条将会伸长,相应尾轴下移,在图示范围内翡翠滤芯不会影响使用,所以应定期检查,防止尾轴与壳体相撞,将导致输送链条脱离尾轮,且尾轴与壳体磨损,应及时摘掉一个斗子及相应链条,并用油漆在适当位置做一标记,利于下次检修。
1.在工作过程中应有固定操作人员,操作人员必须具有一般技术知识,并应熟悉本机性能。
2.NE型板链斗式提升机的使用(输送物料特性、工作条件、输送量等)应严格遵守说明书的一切规定。
3.使用单位对NE型板链斗式提升机应订立设备维修、安全操作规程交付操作人员遵守,操作人员必须具有交接班制度,认真检查各部分工作情况。
4.喂料应均匀,不宜过多,以免使下部被物料堵塞。
5.在工作时,所有检视门必须全部关闭,并应在上部、下部及经常打开的检视门处安设照明设备,工作过程中发生故障应立即停止运转,消除故障,但当故障程度对运转无多大影响时,应作记录待检修时消除。
6.操作人员应经常检查各部件工作情况,但绝对禁止在运转时对本机的运行部件进行清扫和修理。
7.下部装配的张紧装置应调整适宜,保证链条具有正常的工作张力。操作人员应经常注意料斗、链条的工作情况,个别料斗损坏应拆除、更换。
8.须在空载下起动,停车前不喂料,待卸料完毕后再停车。
9.除在工作过程中保持正常润滑(其润滑部位、方法、时间参考下表5)及拆换个别损坏零件外,检修时必须清除在使用中记录的缺陷,拆换损坏零部件,及更换滑润油等。
10.使用单位可根据NE型板链斗式提升机条件规定检修周期。
(二)、维护检查
1、部件检查。检查间隔 A、每天一次 B、每星期一次 C、每月一次 D、每两月一次;



2、功能检查
在安装检查完成以后,根据下表检查NE型板链斗式提升机的功能。项目诸如:启动、停机、啮合、无负载运行、有载运行等。


(三)、润滑
日常工作中NE型板链斗式提升机的润滑按下表进行

★我公司可根据用户需要设计制造特殊型号规格的斗式提升机。
★我公司对所有技术资料、尺寸保留修改的权利,如实物与文中图案不符,应以实物为准。
- 上一篇:TD型斗式提升机
- 下一篇:没有了;




